求助 DDos 解决方案!Windows 2012 服务器,5M 带宽。 网站运行一个 tomcat,现在处于阿里云的黑洞/清洗状态!
攻击者 QQ2315193819,出售防火墙解决我们网站的问题。。
大家不忙的都加 QQ:2315193819, 此人对我公司服务器发起 DDos 攻击。



求助 DDos 解决方案!Windows 2012 服务器,5M 带宽。 网站运行一个 tomcat,现在处于阿里云的黑洞/清洗状态!
攻击者 QQ2315193819,出售防火墙解决我们网站的问题。。
大家不忙的都加 QQ:2315193819, 此人对我公司服务器发起 DDos 攻击。



Tomcat 最早是由 Sun Microsystems 开发的一个 Servlet 容器,在 1999 年被捐献给 ASF(Apache Software Foundation),隶属于 Jakarta 项目,现在已经独立为一个顶级项目。Tomcat 主要实现了 JavaEE 中的 Servlet、JSP 规范,同时也提供 HTTP 服务,是市场上非常流行的 Java Web 容器。
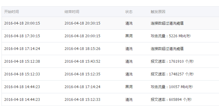
阿里云是阿里巴巴集团旗下公司,是全球领先的云计算及人工智能科技公司。提供云服务器、云数据库、云安全等云计算服务,以及大数据、人工智能服务、精准定制基于场景的行业解决方案。
112.74.26.219
112.74.26.219
112.74.26.219
112.74.26.219
112.74.26.219
112.74.26.219
原始 list:35950
ips:[ 175.191.69.246, 144.76.12.75, 144.76.12.78, 123.249.25.225, 27.211.181.41, 158.69.200.204, 45.79.87.104, 178.79.172.62, 45.79.7.213, 58.209.16.142, 42.156.136.24, 42.156.136.80]
size :1041
Vim 是类 UNIX 系统文本编辑器 Vi 的加强版本,加入了更多特性来帮助编辑源代码。Vim 的部分增强功能包括文件比较(vimdiff)、语法高亮、全面的帮助系统、本地脚本(Vimscript)和便于选择的可视化模式。
GitBook 使您的团队可以轻松编写和维护高质量的文档。 分享知识,提高团队的工作效率,让用户满意。
这是一个不能说的秘密。
OAuth 协议为用户资源的授权提供了一个安全的、开放而又简易的标准。与以往的授权方式不同之处是 oAuth 的授权不会使第三方触及到用户的帐号信息(如用户名与密码),即第三方无需使用用户的用户名与密码就可以申请获得该用户资源的授权,因此 oAuth 是安全的。oAuth 是 Open Authorization 的简写。
持续集成(Continuous Integration)是一种软件开发实践,即团队开发成员经常集成他们的工作,通过每个成员每天至少集成一次,也就意味着每天可能会发生多次集成。每次集成都通过自动化的构建(包括编译,发布,自动化测试)来验证,从而尽早地发现集成错误。
又拍云是国内领先的 CDN 服务提供商,国家工信部认证通过的“可信云”,乌云众测平台认证的“安全云”,为移动时代的创业者提供新一代的 CDN 加速服务。
Office 现已更名为 Microsoft 365. Microsoft 365 将高级 Office 应用(如 Word、Excel 和 PowerPoint)与 1 TB 的 OneDrive 云存储空间、高级安全性等结合在一起,可帮助你在任何设备上完成操作。
一些有用的避坑指南。
IDEA 全称 IntelliJ IDEA,是一款 Java 语言开发的集成环境,在业界被公认为最好的 Java 开发工具之一。IDEA 是 JetBrains 公司的产品,这家公司总部位于捷克共和国的首都布拉格,开发人员以严谨著称的东欧程序员为主。
C++ 是在 C 语言的基础上开发的一种通用编程语言,应用广泛。C++ 支持多种编程范式,面向对象编程、泛型编程和过程化编程。
Flutter 是谷歌的移动 UI 框架,可以快速在 iOS 和 Android 上构建高质量的原生用户界面。 Flutter 可以与现有的代码一起工作,它正在被越来越多的开发者和组织使用,并且 Flutter 是完全免费、开源的。
OpenStack 是一个云操作系统,通过数据中心可控制大型的计算、存储、网络等资源池。所有的管理通过前端界面管理员就可以完成,同样也可以通过 Web 接口让最终用户部署资源。
PHP(Hypertext Preprocessor)是一种开源脚本语言。语法吸收了 C 语言、 Java 和 Perl 的特点,主要适用于 Web 开发领域,据说是世界上最好的编程语言。
Markdown 是一种轻量级标记语言,用户可使用纯文本编辑器来排版文档,最终通过 Markdown 引擎将文档转换为所需格式(比如 HTML、PDF 等)。
大数据(big data)是指无法在一定时间范围内用常规软件工具进行捕捉、管理和处理的数据集合,是需要新处理模式才能具有更强的决策力、洞察发现力和流程优化能力的海量、高增长率和多样化的信息资产。
好记性不如烂笔头。
Go 语言是 Google 推出的一种全新的编程语言,可以在不损失应用程序性能的情况下降低代码的复杂性。谷歌首席软件工程师罗布派克(Rob Pike)说:我们之所以开发 Go,是因为过去 10 多年间软件开发的难度令人沮丧。Go 是谷歌 2009 发布的第二款编程语言。
深度学习(Deep Learning)是机器学习的分支,是一种试图使用包含复杂结构或由多重非线性变换构成的多个处理层对数据进行高层抽象的算法。
汐洛彖夲肜矩阵(Sillot T☳Converbenk Matrix),致力于服务智慧新彖乄,具有彖乄驱动、极致优雅、开发者友好的特点。其中汐洛绞架(Sillot-Gibbet)基于自思源笔记(siyuan-note),前身是思源笔记汐洛版(更早是思源笔记汐洛分支),是智慧新录乄终端(多端融合,移动端优先)。
主仓库地址:Hi-Windom/Sillot
文档地址:sillot.db.sc.cn
注意事项:
Spark 是 UC Berkeley AMP lab 所开源的类 Hadoop MapReduce 的通用并行框架。Spark 拥有 Hadoop MapReduce 所具有的优点;但不同于 MapReduce 的是 Job 中间输出结果可以保存在内存中,从而不再需要读写 HDFS,因此 Spark 能更好地适用于数据挖掘与机器学习等需要迭代的 MapReduce 的算法。
Java 是一种可以撰写跨平台应用软件的面向对象的程序设计语言,是由 Sun Microsystems 公司于 1995 年 5 月推出的。Java 技术具有卓越的通用性、高效性、平台移植性和安全性。
CAP 指的是在一个分布式系统中, Consistency(一致性)、 Availability(可用性)、Partition tolerance(分区容错性),三者不可兼得。
资讯是用户因为及时地获得它并利用它而能够在相对短的时间内给自己带来价值的信息,资讯有时效性和地域性。
欢迎来到这里!
我们正在构建一个小众社区,大家在这里相互信任,以平等 • 自由 • 奔放的价值观进行分享交流。最终,希望大家能够找到与自己志同道合的伙伴,共同成长。
注册 关于