准备材料
1,本地搭建 ikuai 做主路由
作用:OpenVPN 与云服务器对接
2,阿里云或腾讯云的轻量云服务器
作用:与本地 ikuai 对接,获取 IPv4
3,域名
作用:SSL 数据证书,域名解析
进入正题
1,本地安装 ikuai
这里本地就不细说了,需要一些动手能力,我提供一些参考网站~
All in One 保姆教程 1(硬件选择) - 知乎 --硬件一定要多 pcie 接口,双网口以上,推荐直接上服务器的板然后自己手搓。
All in One 保姆教程 2(系统资源下载) - 知乎 --这里 NAS 我推荐用飞牛,非常稳定,感觉比黑群晖好用,
我部署了,ikuai(主路由),飞牛(NAS),jumpserver(跳板机),windows(操作系统),OpenWRT(旁路由,爬梯子用)
All in One 番外篇(来回折腾 4 套设备后的碎碎念) - 知乎
All in One 保姆教程 ③(稳定运行 2 年后的重装) - 知乎
All in One 保姆教程 ④(PVE 8.3 安装) - 知乎 --我家的小电脑刷了 pve 做底层
All in One 保姆教程 ⑤(安装 iKuai 软路由) - 知乎 --画重点 ikuai
2,阿里云安装 ikuai,因为要同步实施。
腾讯阿里云轻量云服务器安装 ikuai 软路由1 --这是我自己弄的安装方法
3,本地与阿里云做数据对接
·阿里云 ikuai 的操作
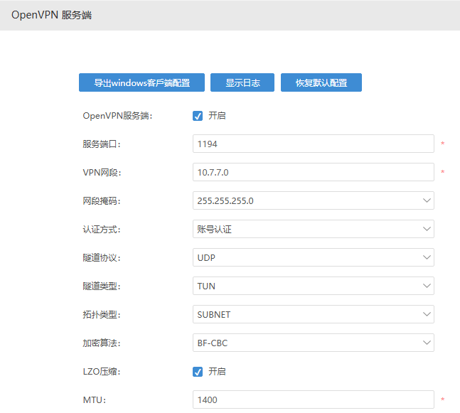
找到 OpenVPN

开启 OpenVPN,按照我的配置设置(建议),避免不必要的时间浪费。


找到账户管理

添加新账户
注意点:这里的账号密码要和本地 ikuai 登录账户密码的一致
认证类型选 openvpn
设置固定 ip,不然 ip 会随机更新,导致与本地连接失败。

本地 ikuai 的操作
找到 VPN 客户端

添加认证账号
服务器地址填写阿里云的 ipv4 地址
用户要与前面的阿里云的用户信息一致

CA 证书复制粘贴
从阿里云上的 openvpn 的服务端复制 CA 证书到本地的客户端上
到这一步就结束 openvpn 的配置了

阿里云上同样也要设置映射,到这里你的外网已经可以访问到本地的网页了(输入阿里云的 ip 加映射的端口)

端口映射设置
现在本地 ikuai 上把需要映射到外网的地址填写好

接下来是关于部分网络有限制访问不了本地的端口问题,我选择的是利用 nginx 的 80 端口复用加域名,有需要的可以继续往下看。
解决部分网络限制端口访问
在阿里云上的 ikuai 部署 docker
·登录 ikuai 的官网,在插件应用找到 docker 进行安装;
·安装时会提升安装在哪台设备上,我们选择的是阿里云部署;
(如果没有找到设备就去阿里云的 web 端绑定手机)

docker 环境设置
首次运行 docker 的时候会提示磁盘分区,按照步骤一步一步操作;

下面是我的配置参数请参考
我在阿里云申请的服务器是 40G,所以只有这么大

安装 nignx
在 docker 的镜像管理的添加找到镜像库下载
搜索镜像:jc21/nginx-proxy-manager


在 docker 首页容器列表点击添加,把刚刚下载的镜像拉起

配置 nignx
用阿里云 ip+8081 访问 nignx 的 web 端
首次访问会有一个注册提示,下面的图片是注册好的界面(账号密码一定要记住,不然又要重新安装 nignx)


获取 SSL 证书
登录阿里云控制台 https://swasnext.console.aliyun.com
找到数据证书管理服务

在个人测试证书找到立即购买

每个用户每年有 20 个证书,每个证书 3 个月,完全够使用,如果觉得每三个月申请一次也可花钱买正式版~

创建证书
注意:域名 nas(个人喜好编写).baidu.com(购入申请的域名)

证书下载
显示已签发后点击更多,在下载界面把 nginx 的证书保存在本地,然后解压!解压!解压!


添加 SSL 证书
打开 nginx web 端 找到 SSL Cerificates
在右边找到 Custom 开始添加证书

注意:name 一定要和你上传的证书一致,并且把【.】变成【_】;
然后就是把刚刚下载下证书和密钥上传

证书引用
在 hosts 里打开 proxy hosts,点击 add proxy host 引用证书

domian names:输入你注册的地址
前面我们把本地 ikuai 的 ip 设为 10.7.7.2,所以这里填 10.7.7.2
端口就填写你要映射的端口
全部打勾 ✔

在 SSL 引用前面添加的证书即可

做到这里就完成了 80 端口的复用,解决了部分网络拦截端口的问题,如果做到这里还是访问不上的话,就再去确认端口映射填写是否正确~
腾讯阿里云轻量云服务器安装 ikuai 软路由
步骤 1: 安装 ubuntu
登录阿里云:https://swasnext.console.aliyun.com/servers/cn-guangzhou

步骤 2: 登录系统,记录地址和网关
ip addr show eth0 | grep global | cut -d' ' -f 6 | head -n 1
ip route list | grep default | cut -d' ' -f 3步骤 3: 下载 ISO 安装包(选择 32 位)
x32 位
wget https://www.ikuai8.com/download.php?n=/3.x/iso/iKuai8_x32_3.5.11_Build202112031159.iso -O ikuai8.iso
x64 位
wget https://www.ikuai8.com/download.php?n=/3.x/iso/iKuai8_x64_3.5.11_Build202112031159.iso -O ikuai8.iso步骤 4: 挂载 ISO 镜像
sudo mount ikuai8.iso /mnt
步骤 5: 复制 ISO 镜像启动文件
sudo cp -rpf /mnt/boot /
步骤 6:reboot
步骤 7: 在腾讯云的操作页面打开 VNC 界面: 登录/远程登录 --> VNC 登录,正常 ISO 安装爱快系统

步骤 8: 进入控制台"设置网卡绑定"
1、设置网卡绑定
解绑网卡:del lan 绑定网卡:set wan1 eth0
步骤 9: 进入控制台"设置网卡绑定"
2、设置 LAN/WAN 地址 --> 1、设置 wan1 地址
设置步骤2记录的地址和网关(不知道可以在控制台页面查看公网IP和内网IP)步骤 10: 进入控制台"开启外网访问 WEB"
o、其他选项 --> 2、开启外网访问 web

步骤 11: 浏览器输入公网 IP 地址,即可登录 ikuai 软路由
↩" />





↩" />
欢迎来到这里!
我们正在构建一个小众社区,大家在这里相互信任,以平等 • 自由 • 奔放的价值观进行分享交流。最终,希望大家能够找到与自己志同道合的伙伴,共同成长。
注册 关于